砂石生产线设备生产厂家破碎机制造销售企业

全国咨询热线全国咨询热线:400-820-2021

新闻中心

深度剖析恒源PF反击式破碎机工作原理及结构特征

反击式破碎机工作原理
反击式破碎机是一种利用冲击能来破碎的破碎机械。当物料进入板锤作用区时,受到板锤的高速冲击而破碎,并被抛向安装在转子上方的反击装置上再次破碎,然后又从反击衬板上弹回到板锤作用区重新破碎。此过程重复进行,直到物料被破碎至所需粒度,由机器下部排出为止。调整反击架与板锤之间的间隙可达到改变物料出料粒度和物料形状的目的。

 
反击式破碎机工作原理图
 
本机在后架上采用自重式保险装置,当非破碎物料进入破碎腔后,前后反击架后退,非破碎物料从机内排出。
 
反击破结构和特征
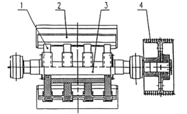
       如下图1所示,反击式破碎机主要由转子、反击架、机架、棘轮翻盖(液压翻盖)和传动部分等零部件组成。
 
反击式破碎机结构图
1、转子    2、反击架   3、机架
图1   反击破碎机结构图
 
 
转子部分
       转子体是本机心脏部分(见下图2)。转子架采用钢板焊接而成,板锤被固定在正确的位置,轴向限位装置能有效的防止板锤窜动。
       板锤采用高耐磨材料制成。整个转子具有良好的动静平衡和耐冲击性。
 
机架
       机架是由三部分坚固、抗扭的箱形焊接结构组成,彼此用高强度螺栓连接。为保证安全可靠地更换易损件,铰接式机架盖可用机械装置或液压装置打开。建议用户在机架上方设置起吊装置,这将帮助你更为快捷地打开上机架以更换易损件或检测设备。机架两侧均设有检测门。
 
反击架
       本机装有前、后二个反击架,均采用自重式悬挂结构。每一反击架被单独地支承在破碎机机架上。破碎机工作时,反击架由自重保持其正常工作位置;过铁时,反击架迅速抬起,异物排除后,又重新返回原处。反击架与转子之间的间隙可通过悬挂螺栓进行调整。反击衬板用高强度螺栓固定在反击架上。反击衬板可以从磨损较大的地方更换到磨损较小的地方。
 
 
反击式破碎机转子部件图
1、转子架   2、板锤   3、轴   4、槽轮
图2  转子部件图
 
传动部分
       传动采用三角皮带传动。与主轴配合的槽轮采用胀套联接,便于装拆。转子的速度可通过更换电机槽轮来调整。
 
反击式破碎机出厂图
反击式破碎机出厂图
 
 
反击式破碎机现场案例图
反击破工程现场案例图

反击式破碎机生产线视频
 
 
反击破厂家简介
       上海恒源冶金设备有限公司自成立以来,一直专注于砂石生产线设备的研发、生产与销售,公司主营产品主要有破碎、制砂、磨粉、输送筛分设备及配套备件等。位于江苏启东滨海工业园区的六万平米大型矿机生产基地,具备先进的数控加工设备和产品质检检测仪器,设备精度高、速度快,具有很强的生产能力,欢迎广大客户前来实地工厂考察和咨询,期待与您携手共赢!
 
采购联络方式
恒源主站:ozelders.cc
国内销售:021-58973788
国际销售:021-33781259
全国服务热线:400-820-2021
 
      欢迎新老客户致电,预约参观,我们将为您提供完善的碎石、制砂生产线成套设备解决方案,让专业的人做专业的事,让您我一起携手,共赢未来!

往期恒源微信公众号内容链接回顾:
产品系列

 

技术文章

 
生产线案例

 
发货系列
本公司一直坚信好的资源和信息需要分享,本文暨上海恒源冶金设备有限公司官方网站的原创发布,转载请注明出处!

返回首页

关键词标签:反击式破碎机,工作原理,机构特征



上一篇:颚式破碎机试车运行注意事项 下一篇:反击式破碎机的安装调试和试运行

相关文章
相关资讯


2021-01-28
2021年1月27日下午,上海恒源路桥集团发往江西客户的一台FKE新型颚式破碎机...[详细]
2025-06-09
本文将详细介绍颚式破碎机的完整安全操作规程,旨在为操作人员提供清晰...[详细]
2020-06-02
此文提到的“圆锥破”是圆锥破碎机的简称,由于其使用环境恶劣,粉尘大...[详细]

版权所有:上海恒源路桥集团有限公司 http://ozelders.cc

62彩集团(中国区)官方网站 639CC2全民彩 - 首页 百瑞彩票网 狗子28 佰富彩-主页 cy888彩运网-首页